盘点纵横上点击量最高的二十本完结小说,书荒可入
盘点纵横上点击量最高的二十本完结小说,书荒可入 之前小编发了一期起点至今关注用户最多的小说20本,反响还不错,本期小编整理一下仅此起点的网站——纵横,这个网站用户总点...
古代射程最远的冷兵器,足以和火炮一决高下的八牛弩
导语:弩,是一种远距离杀伤敌军的冷兵器,和弓不同,弩可谓青出于蓝而胜于蓝。无需使用者长时间将弓保持绷紧的状态,同时还能够保证设计的精度,攻防兼备。举个例子,城头的守军在和进攻的敌军对峙之时,手持弩箭的守军可以一直让箭矢保持在待击发的状态,只要一声令下,即可射杀敌军。或者守军发现敌方有要进攻的意图,便可在对方对守军发动进攻之前,先手发动打击。

手持弩箭的秦军
弩操作简单,设计精准度高,操作难度小,一经出现,就一直受到中原军队的喜爱。但是随着战争强度不断加大,对于武器装备也日新月异地发展着。弩也衍生出了一系列的改进型。另外,弩的作用也在军队的使用过程当中,被不断发掘,并且频频在战争当中有着非常亮眼的表现。其中,八牛弩可谓是古代弩的巅峰之作。

三公床弩模型
弩,早在战国时期就已经大规模使用,并且种类齐全,功能繁多。作为古代战法尤其是兵车战法的关键部分,弩一直是步兵有效克制骑兵的主要武器。因其原理与弓箭相似,但是在形态上更像一个十字架,故称"十字弓"。和弓相比,弩存在的一大缺点就是装填时间比较长。弓射出箭矢之后,弓箭手只需要将弓箭从背后的箭袋当中抽出,右手夹住箭尾,同时拉弓即可。对于臂力以及耐力还有技术的高要求让北方的游牧民族非常擅长射箭。

手持弓箭的游牧民族
而中原的士兵则没有这些。相反,中原军队依靠的是技术和军队的庞大数量。中原地区的中华文明一直全方面领先于其他地区。任何科学技术上的领先都会被转化为军事优势。弩虽然装填时间长,但是射击精度高,箭矢初速大,射程远,杀伤力高,体积小等各种优势加上中原军队庞大数量,弩成为但是中原军队普通士兵手中的"战略武器"。
而随着历史的发展,尤其是到了战国时期,诸侯之间征伐不断,各种各样的战争武器也在军事的推动之下如雨后春笋一般快速出现。弩作为当时最先进的武器之一,自然也得到了相当的重视。凭借其射击精度高,操作简便,射程远的优势,弩逐步大型化,成为了火炮尚未出现之前,军队当中为数不多的远程杀伤性武器。八牛弩,就是中原地区,北宋军队的"超级武器"。

北宋的床弩
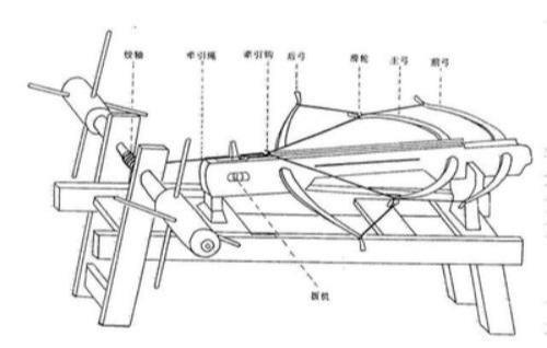
八牛弩也叫三公床弩,是一种古代的超级武器,和普通的弩不同,三公床弩的不同之处在于其结构的复杂。它并不是由一张弩,而是三张弩。三张弩前后排列,用于发射弩箭的弩弦共三股。由于将其拉开到位所需要的力非常的大,所以,每一张三公床弩都需要近十名士兵进行操作,分别负责瞄准,装填,以及利用绞盘将弩弦拉开。如此麻烦的操作对于正常战争来说,是值得的。
为什么如此繁琐并且非常消耗人力与物力的八牛弩会被我称为是值得的呢?因为它的作战任务已经不仅仅是杀伤敌军了。八牛弩最主要的任务是对敌方的军队进行大规模杀伤,尤其是进行近距离直射的时候,依靠三公床弩赋予的巨大的动能。面对的敌人无论是轻装上阵的步兵,而是装备精良的轻骑兵,由三公床弩发射的弩箭都能够给予有效的杀伤。或者,在敌方开始发起冲锋的时候,并且两军距离较远的时候,可以先对敌方使用三公床弩进行一轮打击。

操作三公床弩的宋军
除了杀伤敌人,三公床弩还拥有了一项其他武器装备所没有的功能,帮助己方士兵登上所要进攻的城池。中华大地的城池普遍城墙高耸并且非常的厚。在遭到敌方的进攻之时,大门紧闭。想要攻入城池,只能够从正面攻破大门,或者攀登上城墙。正面进攻城墙需要攻城锤,而如果攀登上城墙,就需要云梯或者其他类似的工具。八牛弩凭借其强大的冲击,虽然箭矢是木质的,但是却能够深深插入城墙,只需要几轮精准的射击,就足以让己方的士兵踩着这些大型弩箭攀登上城墙,避免了云梯会被对方破坏或者推推倒的情况发生。
早在战国时期,大型弩箭便已经广泛使用。在成龙主演的电影《神话》中,成龙所饰演的秦军将领的坐骑被敌方的大型弩箭所贯穿,最终使得成龙所饰演的秦军大将被对方的将军杀害。而在北宋时期,大型弩箭已经变成了弩炮,成为了当时火炮技术尚不成熟之前,火力远程投送的中坚力量。北宋开宝年间,魏丕改进的弩炮的射程达到了1536米,创下了当时古代远程武器的射程记录。

北宋弩炮结构图
这种武器的威力之大,甚至挽救了当时檀渊之盟之前兵败如山倒的北宋。公元1004年,辽国在抵挡住了数次北宋的征伐之后,起兵南下。先前定下的收复瓦桥关的战略目标,虽然在北宋军民的抵抗之下,进展并不顺利,但最终还是达成了,分别以萧太后和萧挞凛和萧观音奴的宋军两路主力在祁州战役之后成功会师,包围檀州。

契丹将领萧挞凛
为了提高士气,宋真宗率领文武百官来到檀州,亲自督战。面对当时低迷的士气,守城大将张环意识到只有针对敌方高级军官的击杀才有可能扭转战局。毕竟,在宋军士气高昂之时,和契丹尚有一战之力,但是在这个特殊时刻,且不说能不能够和契丹作战,哪怕是维持军队的纪律都已经非常勉强了。看到城头上安装的巨大弩炮,张环意识到了机会。

檀渊之盟
当时,契丹虽然在战场上将宋军打得节节败退,当时对于宋军的武器装备了解程度却不足,尤其是庞大的弩炮。这无形中帮助了张环的斩首行动。萧挞凛经常带着少量的骑兵部队在距离檀州大约六百步的地方进行巡视与观察。对于弓箭来说,弓箭六百步已经远远超出了其最大射程,但是对三弓床弩来说,这仅仅只是其最大射程的一半左右。当宋军将弩箭瞄准萧挞凛的时候,也就意味他的阵亡。萧挞凛头部中箭,不治身亡。主将的突然阵亡让契丹军队军心大乱,最终促成了檀渊之盟。
结语:三公床弩或者叫八牛弩,作为古代最为强大远程火力投送武器,小型的弩箭可以精准射杀敌军,大型的弩箭可以远程消耗敌军或者直接狙杀重要目标。强大且先进的军事科技让契丹损失惨重,最终选择和北宋签订檀渊之盟。但是,无论军事科技再先进,战争的根本决定因素是人。纵使军事装备再先进,只要操作武器装备的士兵战斗意志不坚定,或者贪生怕死,毫无战斗的欲望,战争最终还是失败。宋军根本上还是因为其重文抑武的政策让军队一直受到文官的抑制,过于控制,让宋军根本无法发挥其全部战斗力。

北宋禁军
弩箭,作为但是领先世界的武器,让中原政权拥有了无与伦比的军事优势,而在公元九世纪,欧洲也在弓箭的基础上创造出了弩箭,并且因为其相比弓箭无与伦比的优点而迅速推广开来。直到现在,因为其无声无息的特点以及较强的杀伤力,弩箭在结合了现代技术之后,以全新的姿态被投入到军事领域,成为特种部队手中暗杀关键目标的利器。
盘点纵横上点击量最高的二十本完结小说,书荒可入 之前小编发了一期起点至今关注用户最多的小说20本,反响还不错,本期小编整理一下仅此起点的网站——纵横,这个网站用户总点...
桃李不言,下自成蹊,与无声处着精神 “最美校园”鄱阳县实验中学 江南都市报上饶讯·郭睿摄影报道:彭蠡碧浪,芝峤晴云,在浩淼的鄱阳湖之滨有一所美丽的学校——鄱阳县私立实...
最强大脑超新星男孩陈智强问鼎脑王 盘点三季以来的脑王们 昨晚《最强大脑》第三季完美收官,超新星男孩陈智强最终获得脑王的称号,这个15岁的boy一路走来饱受争议,最终他用自己...
狂言NBA-地球人守住最后堡垒 这是属于凡将的荣耀 “神族大军来了!” “神族大军横扫过境,攻破天险达拉斯!” “神族大军距离我方只有20里!” 战报,如雪片一般飞来,清一色,...
姜文彭于晏许晴《邪不压正》最全剧情预测!幕后BOSS竟是他? 今年的上海电影节,姜文导演带着新片《邪不压正》的主创与主演们亮相于红毯。 儒雅又霸气的姜文、身材指数爆表的彭...
河西G22公布案名-南京云际 首开5号楼140㎡户型 最快3月入市 保利河西中G22地块今日公布案名——云际。 作为河西中纯新盘,南京云际自诞生之初就受到关注。 此前,项目规划和售楼处...
6年收了500多万,出卖多份重要文件,泄密之人最终结局如何? 被敌人称为“镇山之宝”的我军少将,竟同样拥有台湾少将军衔?而这位双面少将从1992到1999年七年时间里,出卖了我方大...
外媒公布最常用密码Top20,用「12345」被破解2800万次 你最爱设的密码是什么? 虽然很多人都以为「12345」等数字系列早已过时,但事实上并不是,至少外国人还爱! 网络安全公司 Nord...
这11位神颜欧美女明星,你最get谁的美? #第一眼就让你感觉惊艳的美女有谁,什么时候# 关注鹏鹏,每日带您态度吃瓜! 大家下午好,说起来大家看到#佟丽娅#女团造型没? 大家有被惊...
“负荆请罪”之后,蔺相如是怎么死的?廉颇最终的结局如何? 秦昭襄王想要赵国的和氏璧,结果未能如愿,历史上便产生了一个完璧归赵的典故。 在后来的渑池之会中,秦昭襄王也...
泰国最惨公主朱拉蓬:因近亲结合患病,下嫁保镖遭家暴,残疾终生 她被称为泰国最悲催的公主 ,是老泰王最疼爱的女儿,即使是现任泰国国王也得对她退让三分。她一出生就有享之...
全世界最富有的10个人,中国无人上榜,最低门槛3800亿 你们知道目前世界最富有的有哪些人吗?最低门槛既然要3800亿人民币!现在就带大家盘点世界上最富的10个人。 第10名:美国,罗...
最新!邯郸地区最全单双号限行范围! 2月28日,邯郸市重污染天气应急指挥部发布通知,3月4日至3月31日,在邯郸市主城区实施机动车单双号限行措施,单双号限行期间城市公交免费,...
黑曜石假货太多,这才是最专业的辨认方法 由于黑曜石在某宝JD和旅游景区售卖的太多,而且大多数人多半是被半哄半骗去购买的,所以很难分辨其中的真假优劣,希望这篇科普文能给...
新一季的《最强大脑》抱团撕逼,选手作弊,没有最强只有更强! 《最强大脑》第一季和第二季楼主没有关注过,从第三季开始迷恋上这节目,一直期待第四季,第一季和第二季挑着看...
美人鱼真的存在吗?盘点人鱼最有可能出没的十大海域 提示:点击上方第一制片人↑免费订阅本刊 『每一条微信与中国影视产业同步』 文:小岩 来源:电影制片人 原创文章 转载标明...
最新官宣!22个村确定征地,西安5大板块拆迁潮来了~ 征迁浪潮已经箭在弦上! 前几天,国务院刚刚官宣了,要推进城中村改造。紧接着, 西安多地就迎来了拆迁改造的新进展!有板块...
欧美10大最帅男歌手,B宝 姆爷 断眉均上榜,一对亲兄弟同时上榜 欧美10大最帅男歌手排行,贾斯汀比伯、埃姆纳米、查理·普斯均上榜,我们来看看都有哪些: 第十:Justin Timberlake,,...
22岁女孩遭遇网络诈骗,投资150万日元打水漂,最后选择自杀 “为什么她背着150万日元借款,就结束自己的人生呢?”。这是川上穗野香自杀后,她的母亲发出的疑问。 2020年10月1日,...
《宸汐缘》:元瞳凭什么活到最后一集? 今天刷《宸汐缘》的评论看到有人说,元瞳凭什么活到最后一集?灵汐之所以有悲惨的人生,全拜九宸对元瞳姑息养奸所赐。 就是因为元瞳一...
迪拜最美公主!容颜折服全球男人,18岁沦为政治工具多次出逃被抓 大家好,我是理工男腾飞。12岁小姑娘凭借一张照片火爆全球,超高的颜值加上显赫的身世,被世人称之为世界上最...
诺兰导演的十部最好看的电影,全看过绝对是真爱粉 说起诺兰大家肯定都不陌生,诺兰的电影都围绕於哲学社会学的概念,探索人类的道德,时间与记忆理念,使用后设小说的元素,时...
井上雄彦:世纪末最强漫画家,用匠心兑现天才之名 日本熊本有一家名为“AntiqueHouse”的二手服饰店。 某日,店员翻阅着最新一期的漫画杂志《周刊少年JUMP》,随后发出了惊叹。 “这...
17部张雪迎饰演的影视剧,你看过哪几部?哪一部最香? 17部张雪迎饰演的影视剧,你看过哪几部?哪一部最香?快留言告诉我吧~制图不易,记得给小编点个赞和关注哦,谢谢亲~~ 《白...