“天上人间”老板覃辉:从广西到北京,再到纽约的“传奇”之旅
“天上人间”老板覃辉:从广西到北京,再到纽约的“传奇”之旅 前言 在商业的世界里,诚信和法治是不可或缺的灯塔,它们指引着企业航向成功的港湾,同时也是维护市场秩序的基...
什么是三相五线制与三相四线制供电系统
1.什么是三相五线制?
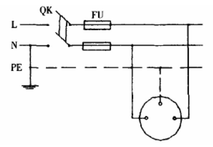
在三相四线制制供电系统中,把零线的两个作用分开,即一根线做工作零线(N),另外用一根线专做保护零线(PE),这样的供电接线方式称为三相五线制供电方式。三相五线制包括三根相线、一根工作零线、一根保护零线(即地线)。三相五线制的接线方式如下图 1 所示。

图 1 三相五线制接线示意图
该接线的特点是:工作零线 N 与保护零线 PE 除在变压器中性点共同接地外,两线不再有任何的电气连接。由于该种接线能用于单相负载、没有中性点引出的三相负载和有中性点引出的三相负载,因而得到广泛的应用。在三相负载不完全平衡的运行情况下,工作零线 N是有电流通过且是带电的,而保护零线 PE 不带电,因而该供电方式的接地系统完全具备安全和可靠的基准电位。
2.三相五线制与三相四线制的比较
(1)基本供电系统简介
常用的基本供电系统有(380V)三相三线制和(380/220V)三相四线制等,但这些名词术语内涵不是十分严格。国际电工委员会(IEC)对此作了统一规定,称为 TT 系统、TN系统、IT 系统。其中 TN 系统又分为 TN-C、TN-S 系统。
TT 系统
TT 式供电系统是指将电气设备的金属外壳直接接地的保护系统,称为保护接地系统,也称 TT 系统。第一个符号 T 表示电力系统中性点直接接地;第二个符号 T 表示负载设备金属外壳和正常不带电的金属部分与大地直接连接,而与系统如何接地无关。在 TT 系统中负载的所有接地均称为保护接地。
TN系统
TN 方式供电系统是将电气设备的金属外壳和正常不带电的金属部分与工作零线相接的保护系统,称作接零保护系统,用 TN 表示。
TN-C 方式供电系统是用工作零线兼作接零保护线,可以称作保护中性线,可用 NPE 表示,即常用的三相四线制供电方式。
TN-S 式供电系统是把工作零线 N 和专用保护线 PE 严格分开的供电系统,称作 TN-S 供电系统,即常用的三相五线制供电方式。
IT 系统
IT 方式供电系统,其中 I 表示电源侧没有工作接地,或经过高阻抗接地。第二个字母 T表示负载侧电气设备进行接地保护。IT 方式供电系统在供电距离不是很长时,供电的可靠性高、安全性好。一般用于不允许停电的场所,或者是要求严格地连续供电的地方,例如连续生产装置、大医院的手术室、地下矿井等处。
(2)三相四线制(TN-C)与三相五线制(TN-S)系统的比较
在三相四线制供电方式中,由于三相负载不平衡时和低压电网的零线过长且阻抗过大时,零线将有零序电流通过,过长的低压电网,由于环境恶化、导线老化、受潮等因素,导线的漏电电流通过零线形成闭合回路,致使零线也带一定的电位,这对安全运行十分不利。在零线断线的特殊情况下,断线以后的单相设备和所有保护接零的设备产生危险的电压,这是不允许的。
采用三相五线制供电方式,用电设备上所连接的工作零线 N 和保护零线 PE 是分别敷设的,工作零线上的电位不能传递到用电设备的外壳上,这样就能有效隔离了三相四线制供电方式所造成的危险电压,使用电设备外壳上电位始终处在“地”电位,从而消除了设备产生危险电压的隐患。
发电机中,三组感应线圈的公共端作为供电系统的参考零点,引出线称为中线(在单相供电中称为零线);另一端与中线之间有额定的电压差,称为相线(单相供电中称为火线)。一般情况下,中线是以大地作为导体,其对地电压应为零,故称为零线。因此相线对地必然形成一定的电压差,可以形成电流回路,称其为火线。正常供电回路由相线(火线)和中线(零线)形成。地线是仪器设备的外壳或屏蔽系统就近与大地连接的导线,其对地电阻小于4 欧姆;它不参与供电回路,主要是保护操作人员人身安全或抗干扰用的。很多情况下,中线和大地的连接问题会导致用电端中线对地电压大于零,因此三相五线制将中线和地线分开对消除安全隐患具有重要意义。
在三相四线制供电方式中,主要采用 TN-C 系统供电系统,对于单相回路存在较大的安全缺陷。单相二线供电方式,最大缺陷是在发生电器外壳碰相线时,直接将 220V 相电压施加给此时正巧触摸到的人,从而发生触电事故。但如果把接外壳的保护线 PE 和中性线 N 并联合用一根,实际上这也是极不安全的。建筑物的配电线路由于接头松脱、导线断线等故障,很可能造成图 2 所示 A 点处开路,此时当其中一台设备开关接通后,在 A 点后面所有中性线上,将出现相电压,这个高电压又被设备接地引至所有插入插座的用电设备外壳上,而且其后的设备即使并未开启,外壳上也有 220V 电压,这是十分危险的。

图2 TN—C系统单相回路断零示意图
如果采用三相五线制的 TN-S 供电系统,则不会出现这种情况。如图 3 所示,只有当保护线断开,而且又有一台设备发生相线碰外壳,两故障同时出现时,才会出现与前述二线制中类似情况的事故。从而也极大地降低了事故出现的可能性。

图 3 TN—S 系统单相回路示意图
3.单相三线制”和“三相五线制”配电
建筑电气设计中采用“单相三线制”和“三相五线制”配电。就是在过去“单相二线制”和“三相四线制”配电基础上,另增加一根专用保护线直接与接地网相连,如图1所示。即根据国际电工委员会(IEC)标准和国家标准而定的TN—S系统,从而保障了电器使用的安全。
①“单相三线制”是“三相五线制”的一部分,在配电中出现了N线和PE线:一个是工作接地N线,这是构成电气回路的需要,其中有工作电流流过,在单相二线制中,工作接地N严禁装设保险丝等可断开点,但单相三线制中则应同相线一样装设保护元器件。另一个是保护接地PE线,要求直接与接地网相联接,保护线PE与中性线N从某点分开后,就不得有任何联系,目的有两个:其一是为了使漏电电流动作保护能正确动作;其二是为了使保护线上没有电流流过,以利安全。
②每个建筑物进户线处应将零线重复接地,接地电阻≤10。
③从引入处开始,接至建筑物内各个插座,中性线N和保护线PE完全分开(严禁零地混接)。至于保护线PE的导线应采用与工作回路相同等级的绝缘导线,且与中性线N截面相同,敷设方式和路径也同工作回路,为便于识别,最好能采用三种颜色分开,依据规范,相线为L1黄、L2绿、L3红色;中性线N为淡兰色或黑色;保护线PE为黄绿双色。(民用建筑电气设计规范》规定“住宅建筑每户的进线开关或插座专用回路宜设置漏电电流动作保护,动作电流
为30mA”。
④插座的接线应遵循左零(N)右火(L)上接地。如图4所示。

图4 插座线路示意图
“天上人间”老板覃辉:从广西到北京,再到纽约的“传奇”之旅 前言 在商业的世界里,诚信和法治是不可或缺的灯塔,它们指引着企业航向成功的港湾,同时也是维护市场秩序的基...
秦岭短线自驾游,去葛牌古镇凭吊先烈,看一路红叶,赏金秋银杏 国庆长假后的第一个周末只有一天时间,我们计划从西安蓝葛路进山,逛辋川溶洞、葛牌古镇和凤凰古镇,再从营盘镇...
啤酒品牌大全(上)55个品牌 一,兰州黄河啤酒 二,燕京惠泉啤酒 三,海特啤酒 四,百威英博 四,安海斯-布希英博 五,粤海啤酒(金威) 六,海珠啤酒 七,麒麟啤酒 八,彭城啤酒...
著名作家姚雪垠:为《李自成》透支生命,与结发妻子牵手一生 点击关注,每天都有名人故事感动您! 姚雪垠(1910年10月10日-1999年4月29日) 姚雪垠是我国著名作家、现代小说家,他的...
中煤平朔集团有限公司 中煤平朔集团有限公司 成立于1982年,隶属于中国中煤能源集团有限公司,是一家以煤炭生产为主的企业。公司位于山西省,拥有安太堡、安家岭等特大型露天矿...
济南特色公交线路推介:有吃有玩有买的公交K133路 K133线路简介 济南公交K133路隶属于济南市公共交通总公司,现由济南市公共交通总公司第四公共汽车分公司一队运营,配备车辆20余部...
马龙潭的故事 马龙潭,表字藤溪,号灵源。自从到四洮路局当督办后,把家从通辽搬到四洮路局所在之处。因为那里有马龙潭小楼可住。虽然离开洮昌道,不再担任洮昌道尹职务,可他...
辣妈孙俪身高158CM 揭矮小身材女星真实身高 由孙俪、张译、明道等主演的《辣妈正传》中,孙俪舍弃了高富帅明道,选择了颇具屌丝气质的张译,二人共同演绎了一段80后小夫妻的成长...
七名女贪官落马,看看都有谁!一个比一个漂亮,其中80后占主要 在阅读此文之前,辛苦点击右上角的“关注”,既方便您进行讨论与分享,又能给您带来不一样的参与感,感谢您的支...
飞花令集锦 花 1. 夜来风雨声,花落知多少。 唐·孟浩然《春晓》 2. 何须浅碧深红色,自是花中第一流。 宋· 李清照《鹧鸪 天·桂花》 3. 人闲桂花落,夜静春山空。唐·王维《鸟鸣涧》...
云南大学全国排名及优势专业解析 云南大学在全国大学排名第88位,在综合类大学排名第40位,属于中国一流大学。在2024年软科专业排名中,云南大学有77个专业上榜,并获得很好的等...
“夜郎西”是指一个古镇?诗最适用“风”还是“君”?争议诸多 不见姑苏,遥望江南。关注吴悠一起来了解中国古镇。 有诗说: 杨花落尽子规啼, 闻道龙标过五溪。 我寄愁心与明...
以前禁止卫星锅,大家都偷偷装,为何现在没人管了反而没人使用了 电视机的发明带领大家走进了一个崭新的时代,黑白电视媒介的出现开启了人们的视听觉体验,即便是那个时候对电...
惨烈的西方世界“亡天下”——君士坦丁堡的陷落,罗马人告别历史 公元1448年,第二次科索沃战役爆发,重整旗鼓的以匈牙利人为主的联军,再败于突厥人。 战役结束之后的第十天,...
深圳中心花市会展中心重开 时隔三年,深圳迎春花市将在会展中心重开。 文、表/广州日报全媒体记者崔宁宁 通讯员崔嵩 图/广州日报全媒体记者轩慧 2016年,有着30多年历史的罗湖区爱...
大清洗开始:美国史上最大驱逐行动,教堂变猎场,纽约黑帮被团灭 如今美国人心惶惶,整个国家正经历史上最大规模的“严打”行动。飞机和大巴日夜不停的往外遣返非法移民,监狱...
中国有67万“穿青人”,至今没被纳入56个民族,身份证很特别 如果问中国有多少个民族。 毋庸置疑,都知道有56个民族。 但你想过吗?中国所有的人口都包含在这其中吗? 实则不然,...
肖晓琳:26岁进央视,55岁病逝异国他乡,成丈夫儿子余生之痛 肖晓琳被誉为“铁面美女”,一直是观众特别喜欢的央视主持人。 然而,这位优秀的主持人勤奋工作了32年,两次飞往美...
南普陀山在哪个城市 南普陀寺,也称为“普陀寺”,位于福建省厦门市东南五老峰下,是全国佛教重点寺院,也是厦门八大风景区之一。其实普陀山在最初并不叫普陀山,而是被称作“...
纯植物 不反弹 排毒瘦身 美容养颜减肥产品-仟佰宠 一款汪东城代言的纯植物、不反弹、排毒瘦身、美容养颜减肥的产品是怎么减肥的 减肥原理:仟佰宠含有奇亚籽、抗性糊精、低聚果...
45岁孟非的妻子李雪及女儿孟星亚近照 孟非,1971年10月出生于重庆市,中国主持人。2010年主持《非诚勿扰》收视率在全国同时间段获得第一,此次转型担当“月老”大受欢迎,被网友评...
30款幼儿园春节主题简笔画,幼师收藏 灯笼简笔画 鞭炮简笔画 水饺简笔画 中国结简笔画 雪人简笔画 红包简笔画 各类Q版简笔画 *声明:本文图、文大部分来源于网络,由园长幼师通服...
《哈利·波特》赫敏·格兰杰的美照,你被惊艳到了吗? 《哈利·波特》赫敏·格兰杰的美照,你被惊艳到了吗? 艾玛·沃特森,1990年4月15日出生于法国巴黎,英国著名女演员,于2000年...
元宵节的习俗看看你知道哪些? 1. 观灯会:自古以来,元宵节的夜晚都有挂灯、赏灯的习俗。这一传统起源于东汉明帝时期,最初与佛教东传有关,后来演变成民间盛大的灯会活动。每...